Descrizione
Stai cercando uno spazio commerciale / direzionale di ampie dimensioni?
Desideri la visibilità di una strada di forte percorrenza?
Cerchi un immobile con due ingressi distinti?
Hai trovato l'immobile giusto per te
L’Agenzia Immobiliare Boiago ha il piacere di proporvi questo comodissimo spazio commerciale/ direzionale
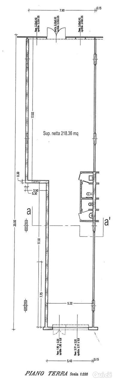
Fronte Pontebbana, nel comune di Spresiano e a ridosso di un importante snodo viario di prossima realizzazione, insiste questo immobile che esprime al pieno la capacità per essere utilizzato sia come spazio direzionale che commerciale. Con una superficie commerciale di 240 mq, ha uno dei due affacci sulla Statale pontebbana a pochi metri dalla discoteca Odissea e la sua visibilità aumenterà entro breve con la realizzazione della nuova rotonda che intercetterà la nuova struttura viaria provinciale e regionale.
L'immobile è stato realizzato nel 2004 e presenta tutte le caratteristiche di un edificio di ultima generazione; di fatti è dotato di riscaldamento e raffreddamento centralizzato, ha un doppia coibentazione a garantire un isolamento termico e acustico con il piano sovrastante. E' dotato di impianto di sorveglianza interna ed esterna con telecamere, è dotato di una centrale informatica per la distribuzione dati, di doppi servizi comprensivo di utilizzo disabili e di due box ad uso ufficio chiusi da pareti vetrate.
Per ulteriori informazioni, chiama il 3470947732
IMMOBILIARE BOIAGO
- DOVE la casa DIVENTA emozione -
Incaricato alla vendita :
MARCO SARZETTO
Cell. 347/0947732
Iscr. ruolo mediatori CCIAA di TV n°423396
Dettagli
- Inserito:
- 19 mar 05:05
- Inserzionista:
- azienda/associazione
- Tipo annuncio:
- vendo
- Tipo merce:
- usato
- Categoria:
- Casa e Terreni
- Comune:
- Spresiano (TV)
- Superficie:
- 240
- Locali:
- 1
- Tipo:
- Ufficio
- Classe Energetica:
- C
